鍖椾含鏃墮棿6鏈?span style="font-size:14px;font-family: 'Helvetica Neue','serif'">19鏃ユ秷鎭紝鎹鎶鍗氬VentureBeat鎶ラ亾錛屾渶鏂頒笓鍒╃敵璇鋒枃浠舵樉紺猴紝浜氶┈閫婂彲鑳芥鍦ㄥ紑鍙戜竴嬈劇被浼間簬璋鋒瓕鐪奸暅鐨勬櫤鑳界溂闀滀駭鍝侊紝鑰屼笖寰堝疄鐢ㄣ?
鏍規嵁浜氶┈閫婂湪鎻愪氦緇欑編鍥戒笓鍒╁晢鏍囧眬鐨勪笓鍒╂枃浠朵腑鐨勬弿榪幫紝浜氶┈閫婄殑榪欐鍙┛鎴磋澶囧彲浠ュ皢鏉板か路璐濈儲鏂?span style="font-size:14px;font-family:'Helvetica Neue','serif'">(Jeff Bezos)鐨勪粨搴撳伐浜哄ぇ鍐涜漿鍖栨垚鈥?span style="font-size:14px">鍗婃満姊頒漢鈥?span style="font-size:14px">錛岃兘澶熷揩閫熺‘璁ゆ墍瑕佸彂璐х殑鍟嗗搧銆?
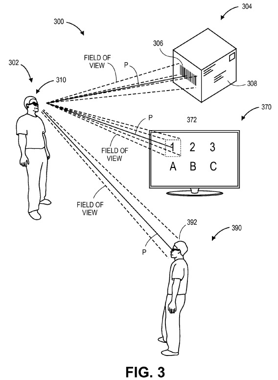
浜氶┈閫婃櫤鑳界溂闀滃唴緗簡涓涓彲絀挎埓璁$畻鏈猴紝鑳藉紜鍟嗗搧鍦ㄧ粰瀹氬尯鍩熺殑瀛樻斁浣嶇疆銆備簹椹婃櫤鑳界溂闀滆繕閰嶅浜嗕竴涓浘鍍忎紶鎰熷櫒錛岃兘澶熻瘑鍒笌緇欏畾浠誨姟鐩稿叧鐨勫晢鍝併傝浼犳劅鍣ㄦ垨璁歌繕鑳藉璇嗗埆鍖呰9鏍囪錛屾瘮濡傞偖瀵勫湴鍧銆佹潯褰㈢爜鎴栦簩緇寸爜銆?

浜氶┈閫婃櫤鑳界溂闀滀笓鍒╁浘瑙?/span>
浜氶┈閫婃櫤鑳界溂闀滅殑涓涓叿鍔熻兘鍦ㄤ簬瀹冭兘澶熷湪閫忛暅涓婃彁渚涘叿浣撶殑鏂囨湰淇℃伅錛岃繖鏍峰氨鑳界‘淇濊瘑鍒椂涓嶄細鍑虹幇宸敊錛屽茍涓旇嚜濮嬭嚦緇堣В鏀劇敤鎴風殑鍙屾墜銆?
褰撴櫤鑳界溂闀滀腑鐨勪紶鎰熷櫒璇嗗埆鐩爣瀵硅薄鏃訛紝瀹冨彲鑳戒細鍚戜僵鎴磋呭彂閫佹寚浠わ紝鍛婅瘔鍚庤呮帴涓嬫潵搴旇鍋氫粈涔堛備紶鎰熷櫒涔熷彲鑳藉彧鏄畝鍗曞湴鍙戦佸晢鍝佷俊鎭紝姣斿鍟嗗搧榪愰佺殑鐩殑鍦版垨閰嶉佹柟寮忋?
浜氶┈閫婄殑榪欓」鎶鏈負鍙┛鎴寸溂闀滀駭鍝佸湪宸ヤ笟鎴栦紒涓氶鍩熸壘鍒頒簡鍙堜竴鐢ㄩ斻備絾鏄粠娑堣垂鑰呰搴﹁錛岃繖嬈懼彲絀挎埓鐪奸暅鐨勭敤澶勪笉澶с?/span>


